Smiðjuvegi 68 - 72 - 200 Kópavogi - Sími: 575 9300
Nýskráning
|
Innskráning
|
English
Vörur
Þjónusta
Starfsfólk
Staðsetningar
Vörur
Hafðu samband
Allar staðsetningar
til baka
Vatn & veitur - Kópavogi
Reykjanesbær
Selfoss
Akureyri
Fagkaup - Skrifstofa
Þjónusta
Þjónusta
Reikningsviðskipti
Fyrirtækið
Fréttir
Staðsetningar
Starfsfólk
Um Vatn & veitur
English
Overview
Contact us
Innskráning
Nýskráning
Karfan þín er tóm
Vörur
Neysluvatnslagnir
Hitaveitulagnir
Svart skrúfað
Gólfhiti
Viðgerðartengi
Suðufittings
Kopar lóðað
Kopar Hné
Kopar Yfirbeygjur
Kopar Nippilhné
Kopar Hálfhné
Kopar Nippil-Hálfhné
Kopar Múffuhné
Kopar Nippil skrúfuð hné
Kopar Té
Kopar Nippilstúss
Kopar Múffustúss
Kopar Vegghné
Kopar Unionar
Kopar Formúffur
Kopar Minnkanir
Kopar Múffur
Kopar Lok
Pex lagnaefni
Kopartengi
Pressefni Galvaniserað
Frárennslislagnir
Festingar og verkfæri
Einangrun og efnavara
Sprinkler og brunavarnir
Stjórnbúnaður
Dælur
Vatnsveitur og snjóbræðsla
Hreinlætistæki - Fylgihlutir
Hitabúnaður
Vatnsveitur
Pípulagnaefni
Múffu-Stúss 15mm x 1/2"
Forsíða
>
Hitaveitulagnir
>
Kopar lóðað
>
Kopar Múffustúss
>
Múffu-Stúss 15mm x 1/2"
Skoða vörur framleiðanda
Innskráðir viðskiptavinir sjá sín verð og geta verslað úr tölvunni eða snjalltækjum.
Lagerstaða:
keflavik
Reykjanesbær
Til á lager
selfoss
Selfossi
Til á lager
vv-kop
Smiðjuvegi 68
Til á lager
0
0
0
0
0
0
0
0
0
0
0
0
40
Vöruhús
Til á lager
Tækniupplýsingar:
Viega_Application_Technology_2014.pdf
Upplýsingar um vöru
Vörunúmer:
E300270115
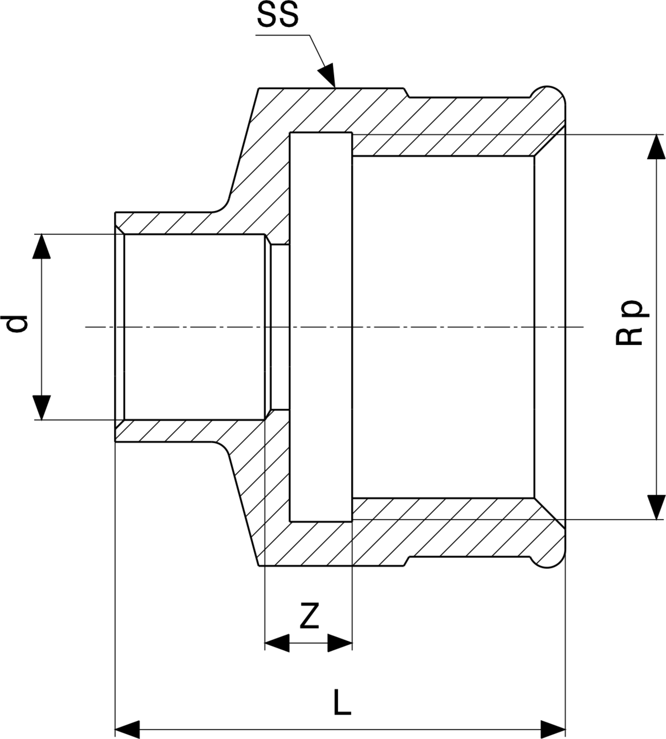
Múffu-Stúss
Stærð: 15mm x 1/2"
Eiginleikar
Nafn eiginleika
Gildi eiginleika
Flokkur
Kopar rör og fittings lóðaður
Gerð
Múffu stuss
Þvermál
15 mm
Þvermál (2)
1/2"
Þvermál (d)
15mm mm
Lengd (L)
28mm mm
Þvermál Róar (S)
25mm mm
Lengd (Z)
2mm mm
Skrúfgangur (Rp)
1/2"
Stærð
15mm x 1/2"
Litur
Kopar
Magn í pakkningu
1
Aukahlutir
Skyldar vörur
Nýlega skoðað
Kopar Brjóstnippill 1/4" x 1/2"
Brjótsnippill
Stærð: 1/4" x 1/2"
Efnisgerð: Kopar
Vörunúmer: E01424500
Innskrá fyrir verð
Til í vefverslun
Haus hitastillir retúr
Haus hitastillir retúr
Ofnloki er seldur sér
Vörunúmer: E205651000500
Innskrá fyrir verð
Til í vefverslun
Hálfhné 18mm
Hálfhné
Stærð: 18mm
Vörunúmer: E30004118
Innskrá fyrir verð
Til í vefverslun
Kopar Brjóstnippill 1" x 1 1/2"
Brjótsnippill
Stærð: 1" x 1 1/2"
Efnisgerð: Kopar
Vörunúmer: E01424553
Innskrá fyrir verð
Til í vefverslun
Álpex Samtengi 20x16mm
Mainpress Samtengi
Stærð: 20x16mm
Vörunúmer: EM31100201
Innskrá fyrir verð
Til í vefverslun
Nippil-Hálfhné 18mm
Nippil-Hálfhné
Stærð: 18mm
Vörunúmer: E30004018
Innskrá fyrir verð
Til í vefverslun
Álpex Samtengi 32x32mm
Mainpress Samtengi
Stærð: 32x32mm
Vörunúmer: EM31100404
Innskrá fyrir verð
Til í vefverslun
Viðgerðarklemma 133-144mm / 300mm
Viðgerðarklemma
Stærð: 133-144mm / 300mm
Vörunúmer: E1013330
Innskrá fyrir verð
Til í vefverslun
Álpex Samtengi 25x25mm
Mainpress Samtengi
Stærð: 25x25mm
Vörunúmer: EM31100303
Innskrá fyrir verð
Til í vefverslun
Pex Rör í barka 15x2,5mm - 50m
Pex Rör í barka
Stærð: 15x2,5mm - 50m
Vörunúmer: E02029
Innskrá fyrir verð
Til í vefverslun