Smiðjuvegi 68 - 72 - 200 Kópavogi - Sími: 575 9300
Nýskráning
|
Innskráning
|
English
Vörur
Þjónusta
Starfsfólk
Staðsetningar
Vörur
Hafðu samband
Allar staðsetningar
til baka
Vatn & veitur - Kópavogi
Reykjanesbær
Selfoss
Akureyri
Fagkaup - Skrifstofa
Þjónusta
Þjónusta
Reikningsviðskipti
Fyrirtækið
Fréttir
Staðsetningar
Starfsfólk
Um Vatn & veitur
English
Overview
Contact us
Innskráning
Nýskráning
Karfan þín er tóm
Vörur
Neysluvatnslagnir
Hitaveitulagnir
Frárennslislagnir
Festingar og verkfæri
Rörafestingar
Boltar og skrúfur
Skrúfboltar
Snittboltar
Snittteinar
Snittteinar
Rær
Skinnur
Sprinkler festingar
Ryðfríar festingar
Aðrar festingar
Verkfæri
Einangrun og efnavara
Sprinkler og brunavarnir
Stjórnbúnaður
Dælur
Vatnsveitur og snjóbræðsla
Hreinlætistæki - Fylgihlutir
Hitabúnaður
Vatnsveitur
Pípulagnaefni
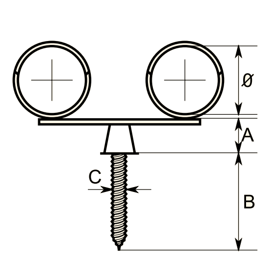
Tvöföld ryðfrí rörafesting með skrúfu 18mm
Forsíða
>
Festingar og verkfæri
>
Boltar og skrúfur
>
Snittboltar
>
Tvöföld ryðfrí rörafesting með skrúfu 18mm
Skoða vörur framleiðanda
Innskráðir viðskiptavinir sjá sín verð og geta verslað úr tölvunni eða snjalltækjum.
Lagerstaða:
keflavik
Reykjanesbær
Til á lager
selfoss
Selfossi
Til á lager
vv-kop
Smiðjuvegi 68
Til á lager
0
0
0
0
0
0
0
0
0
0
0
0
1036
Vöruhús
Til á lager
Tækniupplýsingar:
Filinox_AD.pdf
Upplýsingar um vöru
Vörunúmer:
E373240AD18
Tvöföld rörafesting
Stærð: 18mm
Efnisferð: Ryðfrítt stál
Eiginleikar
Nafn eiginleika
Gildi eiginleika
Flokkur
Rörafesting
Gerð
Tvöföld
Þvermál
18 mm
Magn í pakkningu
25 stk
Þvermál (Ø)
18 mm
A
8 mm
B
35 mm
C
4,8 mm
Aukahlutir
Skyldar vörur
Nýlega skoðað