Karfan þín er tóm
 
Lagerstaða:
  • Reykjanesbær
    Til á lager
  • Selfossi
    Til á lager
  • Smiðjuvegi 68
    Til á lager
  • Vöruhús
    Til á lager

Tækniupplýsingar:

Upplýsingar um vöru

Vörunúmer: EDL01000166

Viðgerðarbaula Hawle D166-178/315 PN16
Type “L 166”
Þyngd: 5,5 kg

Pipe diameters 54-430, length 150-380

Eiginleikar

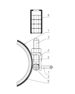
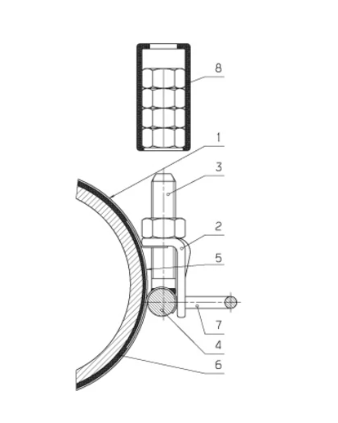
Quick assembly with H-Nut dispenser which prevents loss of nuts into the dirty trench.
 

  • For steel, ductile iron, asbestos cement and PVC-pipes
  • The clamp with the self-centring lug system
  • Fully encompassing gasket seals complete gaps and other pipe damage
  • The bolts (3) are welded to the bolt bar (4). Squeezing the handle makes for easy assembly onto the pipe. The nuts are fed directly to the bolts from a special nut dispenser (8). This eases the positioning of the lugs and bolts and avoids the handling of loose parts.
  • Special versions such as larger diameters and other lengths on request
  • Tested with new pipes in delivery condition
    Ø 54 - Ø 190 PN 16
    Ø 190 - Ø 430 PN 10

Attention: NBR rubber required for gas application!


Eiginleikar
Nafn eiginleika Gildi eiginleika
Flokkur GF-Kúplingar og Viðgerðarklemmur
Gerð Viðgerðarklemmur
Þrýstingur (P) 16 Bar
Þrýstiþol (PN) 16 Bar
Stærð D 166 - 178 / 315
Þyngd 5,5 kg